



多彩なフィールドにおいて、顧客ニーズにマッチしたテクノロジーを提案。一貫したエンジニアリングが新たな価値創造へ貢献します。
ステンレス・銅・アルミ、板・形材・丸棒・異形棒などの連続酸洗に優れた能力を発揮します。
連続酸洗設備・バッチ酸洗設備・連続浸漬式酸洗設備など各種設備を取り揃えております。
より高品質の酸洗を求める場合は、連続浸漬式酸洗をお勧めします。
ステンレス、銅合金、アルミ合金等の各種鋼材の表面処理に対応した酸洗装置です。
コイル、板、形材、丸棒、異形棒など各種形状に対応しております。
酸洗方式はバッチ式、連続スプレー方式、連続浸漬式を取り揃えております。
より高品質な酸洗を求める場合は連続浸漬式をお勧めします。
既存の設備更新、新規自動化設備に対応します。
「廃酸処理設備」「排ガス処理設備」「前後設備」に対応します。
アルミ、銅、ステンレス、鉄などの鉄鋼、非鉄金属分野において板、箔、パイプ、形材、丸棒のほか形状を問わず優れた洗浄能力を発揮します。
又、建築・住宅用・産業用ガラス洗浄装置の設計・製作もしています。
「コンテナ」「容器」「パイプ」「部品」等の不定形状の「連続洗浄」「バッチ洗浄」設備です。酸洗システム同様各種鉄鋼及び非鉄金属分野においても対応可能です。
洗浄液は、「純水」「精製水」「アルカリ洗浄液」「中性洗浄液」「温水」「灯油」等に対応できます。アルミ、銅、ステンレス、鉄、非鉄金属分野板、箔、パイプ、形材、丸棒他に対応します。
既存の設備更新、新規自動化設備に対応します。
「廃酸処理設備」「排ガス処理設備」「前後設備」に対応します。
建築、住宅用・産業用ガラス洗浄についても対応可能です。

一般産業用から化成品、食品、医薬品向けの各規格に準拠した装置仕様を満たします。
一般作業用から化成品、食品、医薬品、畜産等の分野における粉体ハンドリング装置です。「供給」「混合」「排出」「計量」まで一貫したシステム設備に対応します。スクリューコンベヤ、空気輸送についても対応可能です。
都度お問合せください。
コンテナシステムにも対応しております。
小物パーツから重量物、長尺物まで大小・重軽を問わずハンドリング、搬送、仕分け、ストックをシステムとして対応します。
軽量から重量物まで各種鋼材、パレット搬送を行います。
ワークの短尺、長尺、大小は問わず「ハンドリング」「搬送」「仕分け」「ストック」までをシステム化として対応します。
「チェーンコンベア」「ベルトコンベア」「スクリューコンベア」「バケットコンベア」
「ローラーコンベア」「ウォーキングビーム」に多くの実績を有しております。
搬送の自動化 省力化 付帯設備に対応します。
搬送後の、在庫管理システムにも対できます。
アルミ押出し形材の工場出荷までの作業工程に必要な装置を揃えています。アルミ形材以外の製品・素材への応用も可能です。
アルミ型材の「養生装置」「梱包装置」「搬送装置」「定寸装置」「切断装置」等自動化設備です。
製品保護の為の「養生装置」「梱包装置」を導入する事により、生産効率UP,品質UPを図る事が出来ます。
皮膜後形材の養生、搬送装置等において数々の実績を有しております。
アルミ以外の材質にも対応します。既設設備の更新、省力化に対応します。
アルミ形材生産工程において発生するスクラップを連続裁断、プレスによる少容量化する装置です。
都度お問合せ下さい。
アルミ以外にも対応します。
各種板材の傷検査用カメラは、ご希望のどのメーカーにも対応します。各種データの処理も行います。
検査器のセッテング、自動操作、制御、記録を行います。
「表面傷検査ライン」「測長検査ライン」「ピンホール検査ライン」「内部欠損検査ライン」
各検査器に対象品を自動供給します。
必要に応じ、検査機を走行、退避させます。
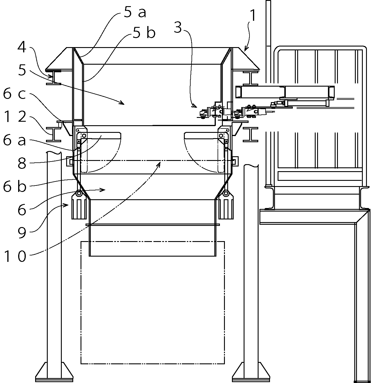
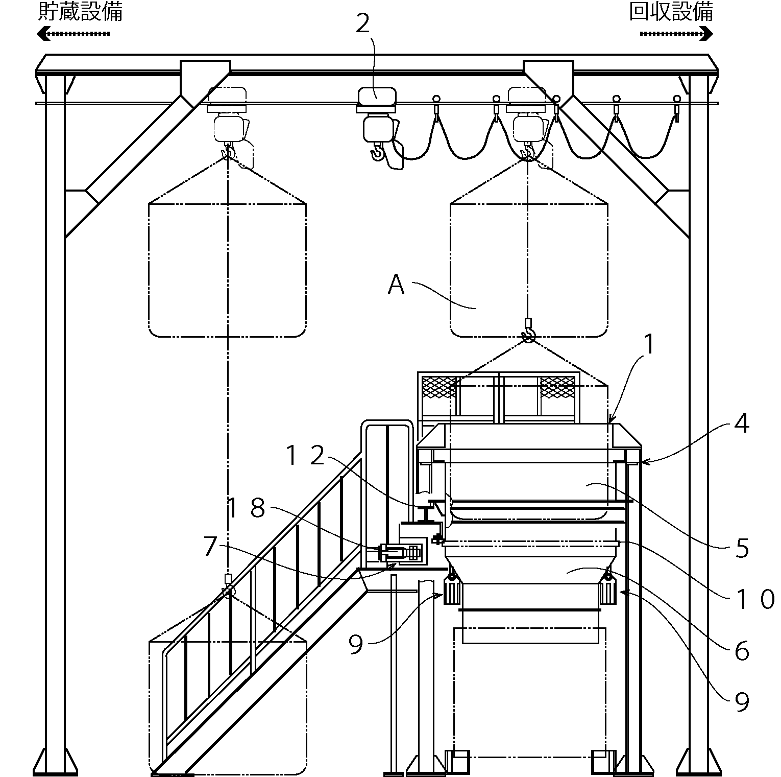
フレコンの内容物、サイズによって各種仕様に対応いたします。
フレコン下部を回転刃にて自動切断することで、安全に効率よくフレコン開封作業を行うことができます。
「電動ホイスト」「回収コンテナ」「付着物払落し装置」など各種装備を追加することができます。
内容物がどのようなものでも対応可能です。(切粉、粉末、固形物、等)
フレコンを受ける座面が可動するため、排出時、内容物の引っ掛かりがありません。

フレコン排出装置

【符号の説明】
A 梱包体,
1 保持枠,2 吊り手段,3 切断部,4 基台,
5 固定枠,5a 受け領域,5b 側壁領域,
6 可動枠,6a 支持領域,6b 案内領域,6c 外リム,
7 回転駆動機構,
8 スイングアーム, 9 揺動駆動機構,10 受動ギア,
12 台座,18 電動モーター
製品のストックヤードへの入・出庫管理を自動搬送装置と組合わせることにより、自動化と省人化が図れます。
製品ストックヤードの入出庫管理を上位制御とリンクさせる事で生産効率を上げる事が出来ます。
上位指令により各搬送装置等の自動運転を行います。自動搬送装置と組み合わせる事により自動化と省人化が図れます。
PLCリプレイス、PCリプレイスにも対応します。
加熱源を既存のユーティリティーに合わせて、電気、ガスから選定できます。また、連続式、バッチ式の選択に合わせた設計を行ないます。既存炉の改造も行います。
電気、ガス等の既存ユーティリティーを加熱源とした熱処理システムです。
「連続式」「バッチ式」に対応します。
「乾燥炉」「焼鈍炉」の実績があります。
都度お問合せ下さい。
既設炉の改造についても対応しております。
各専門メーカーとの協力で、データ取りから最適機種の選定まで、プラント1式で環境改善のお手伝いをします。
各専門メーカーとの協力により生産工程で発生する有害物質の処理システムを構築します。
データー取りを行い最適機種の選定、プラント一式としての対応も可能です。
都度お問合せ下さい。
エアーカーテン装置は、優れたミスト補修能力を有します。
(実用新案登録 第3210794号)
ライン物から一品物まで、仕様に合せて設計致します。既設装置の改造も行います。
「巻取機」「吊具」等の一品物からライン物までご提示頂いた仕様に合わせ製作を行います。
新設のみではなく、既設装置改造も対応しております。
都度お問合せ下さい。